产品详情
返回
产品型号:STP
产品口径:DN25-50mm
产品压力:电询
产品材质:铸钢、锻钢
抽汽式疏水阀STP是一种防空化高压差调节阀,该阀用于汽轮机本体疏水,各段抽气疏水以及冷再管道的疏水等,抽气疏水阀可以使用气动或电动控制,也可以手动操作。它是大中型火力发电机组的主要阀门之一。
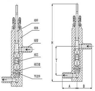
抽汽式疏水阀STP采用消耗降压设计原理。高压流体通过阀芯套上的节流通道,流体方向不断改变,逐步消耗能量,降低流体速度。使流体通过阀座节流口的压力高于汽化压力,防止流体发生空化。
抽气疏水阀STP的主要优点:
流体通道串级式,4级降压。不断改变流体方向,控制流体速度在30m/s,左右,逐级降压,防止空化破坏。
节流面与密封面分开,关闭严密,根据疏水流量设有多级节流,阀内组件表面硬化处理,硬度可达到HRC70左右,寿命长。
阀体组件与执行机构采用浮动式连接。可以消除阀芯与推杆不同心造成的卡死想象。
抽汽式疏水阀KV值和行程及外形尺寸
| 公称通径DN | 25 | 32 | 40 | 50 |
| KV值 | 5.1 | 5.6 | 15 | 18 |
| 额定行程(mm) | 20 | 20 | 25 | 25 |
| D | 320 | 320 | 500 | 500 |
| H | 263 | 263 | 520 | 520 |
